Ein Standard-Display erfüllt nicht immer die Anforderungen industrieller Anwendungen. Sind höhere Helligkeit, spezielle Schnittstellen oder besondere Umgebungsbedingungen gefordert, kommen anwendungsspezifische TFT-Module zum Einsatz.
Display und Touch: Die beiden Hauptkomponenten eines HMI-Systems für die Dateneingabe und die Datenausgabe. Doch nicht immer genügt ein Standard-Display.
(Bild: Hy-Line unter Verwendung von KI / KI-generiert)
Zwei Hauptkomponenten bei der Entwicklung eines HMI (Human Machine Interface) sind das Display für die Ausgabe von Informationen und Daten und der Touchscreen für die Eingabe von Steuerbefehlen sowie die Änderung von Parametern. Gerne greifen Entwickler auf gängige Standards zurück. Was aber, wenn das Standard-Display nicht hell genug ist, das Interface nicht zum verwendeten Computerboard passt oder besonderen Umgebungsbedingungen Rechnung getragen werden muss? Dann kommen anwendungsspezifische Displays zum Einsatz.
Für industrielle Displays haben sich Quasi-Standards entwickelt. Modelle mit identischer Diagonale, Schnittstelle und Helligkeit sind von mehreren Anbietern erhältlich. Leider ziehen sich immer mehr Hersteller aus dem kaum noch lukrativen Markt für TFT-Displays zurück, um sich in einer Nische wie OLED oder TFT für die Medizintechnik oder Digital Signage zu behaupten. Für Anwender, die ein HMI für eine Maschine entwickeln, ist das wenig hilfreich. Hier kommen die umgangssprachlich sogenannten „Module Maker" ins Spiel: Hersteller, die rund um eine verfügbare TFT-Zelle ein Display-Modul bauen, das genau die Anforderungen der Anwendung erfüllt.
Was versteht man unter einem Module Maker?
Die Herstellung von TFT-Modulen lässt sich unterteilen: Im ersten Teil werden die Halbleiterprozesse für die Strukturierung eines TFT-Glases unter Reinraumbedingungen durchgeführt. In einem weiteren Abschnitt werden aus den TFT-Gläsern TFT-Module gebaut. An dieser Schnittstelle setzt der Module Maker an: Er bezieht die rohen Gläser und baut daraus Module unter eigenem Namen. Von diesem Verfahren profitieren beide Seiten. Der TFT-Hersteller kann im großen Stil Gläser produzieren, und der Module Maker muss keine eigene TFT-Fertigung mit entsprechendem Aufwand betreiben, sondern kann sich auf die Anforderungen seiner Kunden konzentrieren und auch Lösungen für Mengen anbieten, die in einem industriellen Projekt gefragt sind.
Hinzu kommt, dass selbst große Display-Hersteller eine Produktlebensdauer von lediglich drei bis fünf Jahren garantieren. Für Projekte in der Industrie und Medizintechnik ist das wegen der langen Entwicklungs- und Zertifizierungszyklen zu kurz. Mit der anwendungsspezifischen Lösung kann eine deutlich längere Lebensdauer abgebildet werden. Wird beispielsweise das Display-Glas nicht mehr hergestellt, kann der Hersteller auf ein ähnliches Produkt zurückgreifen. Der Kunde erhält ein in Form-Fit-Function kompatibles Modell, das keine Änderungen in der systemseitigen Hard- oder Software erfordert und damit die Verfügbarkeit deutlich verlängert.
Vom Mutterglas zum TFT-Modul
Bild 1: Das Mutterglas und daraus entstandene einzelne Displays.
(Bild: Hy-Line)
Das Ausgangsprodukt für ein anwendungsspezifisches Display ist ein Mutterglas, das der Module Maker vom TFT-Hersteller bezieht. Ein Mutterglas ist wie eine Tafel Schokolade, von der man einzelne Stücke abbrechen kann. Die einzelnen Panels sind wohldefiniert, d.h. sie tragen die Strukturen für das Einzeldisplay und die komplette Verdrahtung für Zeilen und Spalten sowie den Display-Controller-Treiber. Ausgehend vom Mutterglas entwickeln Module Maker komplette TFT-Lösungen, die in hohem Maße kundenspezifisch konfektionierbar sind.
Bild 2: Die Details eines einzelnen Displays und die komplette Verdrahtung für Zeilen und Spalten sowie den Display-Controller-Treiber.
(Bild: Hy-Line)
Die Muttergläser tragen eine größere Anzahl an Einzeldisplays. Die exakte Anzahl hängt von der Prozessgröße ab, in der die Muttergläser gefertigt werden, und von den Abmessungen eines Einzeldisplays. Beim Mutterglas sind die beiden Gläser, nämlich Elektroden und Farbfilter, aus denen das fertige Display bestehen wird, bereits miteinander verklebt. Als erstes wird der passende Flüssigkristall eingefüllt, danach werden die Muttergläser vereinzelt. In den folgenden Schritten werden nur noch individuelle Gläser verarbeitet.
Das Display-Panel ist noch ohne Funktion. Es fehlen noch Polfilter auf Vorder- und Rückseite und der Chip, die in Folgeprozessen aufgebracht werden. Für den elektrischen Anschluss wird eine Flexfolie auf das Glas geklebt und das Backlight mit dem Display verbunden.
Was macht ein Display-Controller/Treiber?
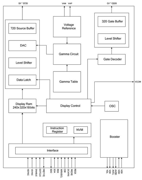
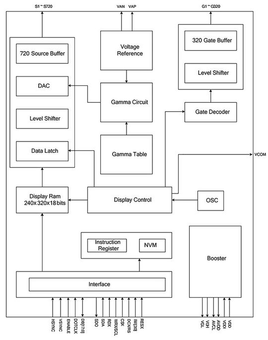
Bild 3: Das Blockschaltbild eines Display-Controller/Treibers.
(Bild: Sitronix Technology Corporation)
Der Display-Controller ist hauptsächlich für die Kommunikation zum Host zuständig. Er bietet eine Standard-Schnittstelle, beispielsweise Datenbus, parallel (RGB), MIPI, SPI oder I²C. Während beim Betrieb an einer RGB-Schnittstelle neue Daten mit der Wiederholfrequenz des Displays (60 Hz) eingeschrieben werden müssen, füllen die anderen Schnittstellen den integrierten Bildspeicher (Frame Buffer), der den Displayinhalt lokal speichert, sodass die CPU nur bei Änderungen neue Informationen senden muss. Mit verschiedenen Kommandos kann die Betriebsart, wie der Speicher ausgelesen werden soll, von der CPU modifiziert werden. Manche Controller beinhalten Funktionen zum Zeichnen von Grafikprimitiven (Linie, Rechteck oder Bitmap), was die Host-CPU entlastet. Mithilfe einer Lookup-Table kann die Wiedergabe von Farbstufen beeinflusst werden.
Stand: 08.12.2025
Es ist für uns eine Selbstverständlichkeit, dass wir verantwortungsvoll mit Ihren personenbezogenen Daten umgehen. Sofern wir personenbezogene Daten von Ihnen erheben, verarbeiten wir diese unter Beachtung der geltenden Datenschutzvorschriften. Detaillierte Informationen finden Sie in unserer Datenschutzerklärung.
Einwilligung in die Verwendung von Daten zu Werbezwecken
Ich bin damit einverstanden, dass die Vogel Communications Group GmbH & Co. KG, Max-Planckstr. 7-9, 97082 Würzburg einschließlich aller mit ihr im Sinne der §§ 15 ff. AktG verbundenen Unternehmen (im weiteren: Vogel Communications Group) meine E-Mail-Adresse für die Zusendung von redaktionellen Newslettern nutzt. Auflistungen der jeweils zugehörigen Unternehmen können hier abgerufen werden.
Der Newsletterinhalt erstreckt sich dabei auf Produkte und Dienstleistungen aller zuvor genannten Unternehmen, darunter beispielsweise Fachzeitschriften und Fachbücher, Veranstaltungen und Messen sowie veranstaltungsbezogene Produkte und Dienstleistungen, Print- und Digital-Mediaangebote und Services wie weitere (redaktionelle) Newsletter, Gewinnspiele, Lead-Kampagnen, Marktforschung im Online- und Offline-Bereich, fachspezifische Webportale und E-Learning-Angebote. Wenn auch meine persönliche Telefonnummer erhoben wurde, darf diese für die Unterbreitung von Angeboten der vorgenannten Produkte und Dienstleistungen der vorgenannten Unternehmen und Marktforschung genutzt werden.
Meine Einwilligung umfasst zudem die Verarbeitung meiner E-Mail-Adresse und Telefonnummer für den Datenabgleich zu Marketingzwecken mit ausgewählten Werbepartnern wie z.B. LinkedIN, Google und Meta. Hierfür darf die Vogel Communications Group die genannten Daten gehasht an Werbepartner übermitteln, die diese Daten dann nutzen, um feststellen zu können, ob ich ebenfalls Mitglied auf den besagten Werbepartnerportalen bin. Die Vogel Communications Group nutzt diese Funktion zu Zwecken des Retargeting (Upselling, Crossselling und Kundenbindung), der Generierung von sog. Lookalike Audiences zur Neukundengewinnung und als Ausschlussgrundlage für laufende Werbekampagnen. Weitere Informationen kann ich dem Abschnitt „Datenabgleich zu Marketingzwecken“ in der Datenschutzerklärung entnehmen.
Falls ich im Internet auf Portalen der Vogel Communications Group einschließlich deren mit ihr im Sinne der §§ 15 ff. AktG verbundenen Unternehmen geschützte Inhalte abrufe, muss ich mich mit weiteren Daten für den Zugang zu diesen Inhalten registrieren. Im Gegenzug für diesen gebührenlosen Zugang zu redaktionellen Inhalten dürfen meine Daten im Sinne dieser Einwilligung für die hier genannten Zwecke verwendet werden. Dies gilt nicht für den Datenabgleich zu Marketingzwecken.
Recht auf Widerruf
Mir ist bewusst, dass ich diese Einwilligung jederzeit für die Zukunft widerrufen kann. Durch meinen Widerruf wird die Rechtmäßigkeit der aufgrund meiner Einwilligung bis zum Widerruf erfolgten Verarbeitung nicht berührt. Um meinen Widerruf zu erklären, kann ich als eine Möglichkeit das unter https://contact.vogel.de abrufbare Kontaktformular nutzen. Sofern ich einzelne von mir abonnierte Newsletter nicht mehr erhalten möchte, kann ich darüber hinaus auch den am Ende eines Newsletters eingebundenen Abmeldelink anklicken. Weitere Informationen zu meinem Widerrufsrecht und dessen Ausübung sowie zu den Folgen meines Widerrufs finde ich in der Datenschutzerklärung, Abschnitt Redaktionelle Newsletter.
Der Display-Treiber sorgt dafür, dass der im Bildspeicher befindliche Inhalt ausgelesen und periodisch an das Display mit den korrekten Spannungspegeln weitergegeben wird. Die dafür erforderlichen Spannungen werden über eine eingebaute Ladungspumpe erzeugt und über eine interne Widerstandskette fein für die Graustufen eingestellt. Die Spannungen hängen von der elektrooptischen Kennlinie des Displays ab und müssen für jeden Typ neu festgelegt werden.
Kompakte Displays bis zur Auflösung von etwa Viertel-VGA (320 x 240) werden von einem Single-Chip-Controller/Treiber angesteuert, der in einem einzigen Chip alle Funktionen vereint. Ein typischer Chip (Bild 3) hat über 1.000 Kontakte. Dieser wird in einem Chip-on-Glass-Prozess auf dem Glas verklebt.
Die individuelle Anpassung des Displays
Bild 4: Die unterschiedlichen Möglichkeiten, ein TFT-Display individuell anzupassen.
(Bild: Hy-Line)
Für Projekte bereits ab 1.000 Stück können Anpassungen durchgeführt werden, bei denen sich die zusätzlichen Kosten lohnen, um das TFT-Modul individuell zu gestalten (Deckglas) oder an die Anwendung (Interface) anzupassen. Welche Möglichkeiten es gibt, listet der folgende Abschnitt auf.
Flüssigkristall und Polfilter: Da die TFT-Zelle ohne Polfilter und Flüssigkristall geliefert wird, können im Rahmen der eigenen Spezifikation Materialien ausgewählt werden, die bestimmte Eigenschaften haben. Bei manchen Projekten muss ein erweiterter Temperaturbereich garantiert werden, bei anderen kommt es eher auf Ersparnis an, wenn ein normaler Polfilter verwendet wird.
Backlight: Hat man das Modul gefunden, das alle gewünschten Parameter erfüllt, fehlt vielleicht noch die Helligkeit, die für den Einsatz im Außenbereich erforderlich ist. Durch Ersetzen der LED-Typen oder das Design eines Backlights mit mehr LEDs kann die Helligkeit gesteigert oder die Lebensdauer (Halbwertszeit) des Backlights erhöht werden. Die Systemintegration wird einfacher, wenn sich der Wandler für die LEDs direkt auf dem Modul befindet und das Backlight mit einer festen Spannung betrieben und dessen Helligkeit über ein PWM-Signal gedimmt werden kann.
Controller-IC und Schnittstelle: Auch wenn das TFT-Glas für einen bestimmten Controller-Chip ausgelegt ist, gibt es dafür manche kompatible Typen. Sie können eine Schnittstelle haben, die besser in das System passt, oder andere Eigenschaften, wie einen Sleep-Mode mit Auffrischung des Display-Inhalts in geringeren Raten oder einen Bildspeicher, der die CPU entlastet.
Design der Flexfolie: Für die mechanische Integration sollte die Flexfolie möglichst dort im Gerät landen, wo sich der Anschlussstecker für das Display befindet. Unter Umständen muss die Steckerbelegung an das Vorgängermodell angepasst werden, um Hardwareänderungen im Gerät zu vermeiden.
Mit diesen Schritten ist das TFT-Modul komplett und kann eingesetzt werden. Für ein HMI fehlen noch ein Touchsensor und ein Deckglas, die anschließend mit dem TFT verbunden werden. Beim Design aus einer Hand bietet es sich an, die Anschlüsse aller Komponenten – Display, Touchscreen und LED-Backlight – auf einen einzigen Steckverbinder zu legen. Dadurch wird die Montage vereinfacht und Fehlerquellen werden minimiert.
Das Design des Deckglases
Bei professionellen Anwendungen wird das empfindliche Display immer mit einem Deckglas geschützt – die Frontseite wird vom Polfilter gebildet, der empfindlich gegenüber Kratzern und Feuchtigkeit ist. Ob sich hinter dem Deckglas noch ein Touchscreen befindet, spielt dabei keine Rolle. Das Deckglas kann bedruckt werden; im einfachsten Fall ist dies eine schwarze Maske, die den Rand des Displays kaschiert. Die Bedruckung liegt dabei hinter dem Glas, sodass sie kratzfest ist und sich im Betrieb nicht abnutzt.
Die Farbe der Bedruckung kann beliebig gewählt werden, mit sogenannten keramischen Farben wird sie eingebrannt und widersteht extremen Temperaturen genauso wie permanenter UV-Bestrahlung im Außenbereich. Auch Größe und Form des Glases sind beliebig – abgerundete Ecken und geschliffene Kanten gehören zum Standard-Repertoire.
Für eine hohe Darstellungsqualität auch in schwierigen Lichtverhältnissen wie in Montagehallen mit Deckenbeleuchtung oder im Außenbereich wird das Deckglas nicht mit einem umlaufenden Klebeband, sondern vollflächig mit dem Display verklebt (optisches Bonden). Dadurch werden Reflexionen des einfallenden Lichts deutlich reduziert. Ein angenehmer Nebeneffekt ist die Abdichtung, sodass weder Staub noch Feuchtigkeit in den Spalt zwischen Display und Deckglas eindringen können.
Die Integration eines Touchscreens
Soll das Display interaktiv eingesetzt werden, wird hinter das Deckglas ein Touchsensor laminiert. Der Touchscreen verwendet in den meisten Fällen die PCAP-Technologie, bei der kleinste Änderungen der Kapazität als Touch-Ereignis ausgewertet werden. Seine Funktion kann in weiten Bereichen parametriert werden – von der Einfinger-Bedienung bis hin zur Gestensteuerung, von der Bedienung mit Arbeitshandschuhen bis hin zur Benetzung mit Wasser und anderen Flüssigkeiten.
Für beste optische Performance und elektrische Funktion wird der Touchsensor mit dem Frontglas laminiert und dieser Verbund mit dem Display-Modul verklebt. Hier besteht der Freiheitsgrad, die Verklebung mit einem umlaufenden Klebeband oder durch optisches Bonding herzustellen. Aktuelle Technologien wie OCA ermöglichen auch nach der Fertigung eine Reparatur im Werk, ohne die beteiligten Komponenten zu beschädigen oder zu zerstören.
Die erwähnten Funktionen werden mit der Auswahl eines geeigneten Touch-Controllers realisiert. Er wird ebenfalls auf der Flexfolie des Displays integriert. Mit einem High-Performance-Controller können alle Anwendungsfälle abgedeckt werden. Ist die Applikation einfach (nur ein Finger, keine Umwelteinflüsse), können mit einem einfachen Controller die Kosten niedrig gehalten werden.
Der Touch-Controller und zusätzliche Sensoren
Tabelle: Die Eingriffsmöglichkeiten beim Modul-Design.
(Bild: Hy-Line)
Durch die variable Bedruckung der Glasoberfläche kann ein Sichtfenster für einen Sensor freigehalten werden, der die Umgebungshelligkeit misst und die Displayhelligkeit beeinflusst. Auch eine Fotodiode für eine Infrarot-Fernbedienung kann im Deckglas eingebaut werden. Ein Präsenzdetektor schaltet das Display nur dann ein oder auf volle Helligkeit, wenn sich ein Bediener davor befindet.
Soll ein grafisches HMI mit zusätzlichen Tasten versehen werden, kann die Auswerte-Elektronik dazu auf der Flexfolie integriert werden. Ein separater Aufbau für Lautstärke, Ein/Aus oder den Reinigungsmodus wird überflüssig. Ebenso wie zusätzliche Tastflächen können hinter dem Glas LEDs integriert werden. Sie können sowohl umlaufend als Ambiente-Beleuchtung als auch individuell für die Anzeige von Betriebszuständen verwendet werden. Besonders geeignet sind dafür auch Mehrfarb-Dioden, die mithilfe einer bestimmten Farbe verschiedene Maschinenzustände anzeigen können.
Wenige Modifikationen genügen
Ein TFT-Modul muss nicht immer dem Standard entsprechen. Mit nur kleinen Modifikationen lässt es sich genau auf die Anwendung zuschneiden: von der Helligkeit über das Interface bis hin zum Touchscreen und zusätzlichen Bedienelementen. Dabei ist systemseitig keine umfangreiche Konstruktion erforderlich, denn alles ist bereits auf dem Modul integriert und wird über eine einzige Flexfolie mit dem System verbunden. Durch den Einsatz einer Standard-TFT-Zelle sind die Stückzahlen für einen lohnenden Einsatz gering, und auch die Kosten für die Modifikationen sind überschaubar. Kunden profitieren von der Lösung aus einer Hand, die durch die erfolgten Anpassungen optimal auf ihre Anwendung abgestimmt ist: Die Produktverantwortung liegt beim Lieferanten, Fehlerquellen werden eliminiert und schwierige Prozessschritte wie die Laminierung des Touchsensors ausgelagert. (heh)
* Rudolf Sosnowsky ist CTO bei Hy-Line Technology.