Halleffekt-Sensoren werden in so großem Umfang eingesetzt, dass man nahezu täglich von einer neuen interessanten Anwendung erfährt. Der Artikel analysiert die elf häufigsten Irrtümer sowie die Auswirkungen auf ihren Einsatz in der Praxis.
Halleffekt-Sensoren: Hochpräzise, lineare 3D-Halleffekt-Sensoren wie der TMAG5170 sorgen für präzise Bewegungen eines Roboterarms.
(Bild: TI)
Schon seit Jahren werden Halleffekt-Sensoren in Systemen in der Industrie und im Bereich Automotive als Näherungssensoren, lineare Wegmesser oder Drehgeber sowie für viele weitere Zwecke eingesetzt. Mit der Zeit veranlassten die gestiegenen Anforderungen an die Leistungsfähigkeit der Systeme die IC-Anbieter dazu, die Genauigkeit zu steigern, mehr Funktionen zu integrieren, verschiedene Erfassungsmöglichkeiten anzubieten und den Stromverbrauch zu senken.
Dadurch sollte das Anwendungsspektrum von Halleffekt-Sensoren in den kommenden Jahrzehnten weiter ausgebaut werden.
Im Beitrag diskutiere ich gängige Fehleinschätzungen im Zusammenhang mit Halleffekt-Sensoren anhand realer Anwendungen.
Mythos Nr. 1: Halleffekt-Sensoren liefern nur reine Ein/Aus-Informationen
Viele elektromechanische Schaltungen detektieren ein Objekt mithilfe eines Sensors. Dabei soll ein einfaches Logiksignal lediglich die Präsenz bzw. die Abwesenheit dieses Objekts anzeigen. Beispiele sind das Öffnen oder Schließen eines Laptops, mit dem das Ein- und Ausschalten des Gerätes gesteuert wird, oder das Signalisieren eines Einbruchsversuchs an einer Tür oder einem Fenster. Anwendungen dieser Art erfordern tatsächlich nur einen einfachen Halleffekt-Schalter, dessen Ausgang seinen Zustand wechselt, wenn eine intern vorgegebene Ansprechschwelle über- bzw. unterschritten wird.
Derartige Halleffekt-Schalter sind keineswegs die einzigen Halleffekt-Sensoren. Sehr verbreitet sind beispielsweise auch selbsthaltende und lineare Bauelemente. Im Gegensatz zu einem Schalter ändern selbsthaltende Latch-Elemente, die hauptsächlich als Drehgeber verwendet werden, ihren Ausgangszustand nur unter dem Einfluss eines Magnetfeldes, dessen Polarität der des vorigen Magnetfeldes entgegengesetzt ist.
Für präzise Wegmessungen sind lineare Halleffekt-Sensoren die bessere Wahl, da sie mit hoher Auflösung ermitteln können, wo sich ein Objekt relativ zum Sensor befindet. Sie liefern also weit mehr als nur eine reine Ein/Aus-Information. Bild 1 zeigt die Übertragungsfunktionen der gerade genannten Sensorbauarten einschließlich der verfügbaren Variationen.
Mythos Nr. 2: Lineare Halleffekt-Sensoren sind ungenau
Lineare Halleffekt-Sensoren sind ohne Frage kosteneffektive Lösungen, die zuverlässige Informationen über Magnetfelder liefern. Die Anwender dieser Sensoren sind sich dieser Tatsache bewusst, setzen aber häufig auf andere Techniken, wenn sie Wert auf hohe Genauigkeit legen.
Zum Beispiel müssen die beweglichen Arme von Industrierobotern relativ zum jeweiligen Zielobjekt präzise positioniert werden. Mit einem hochpräzisen, linearen 3D-Halleffekt-Sensor wie dem TMAG5170 lässt sich die für solche Anwendungen benötigte Präzision erreichen. Außerdem machen die hohe Genauigkeit und die geringe Temperaturdrift bei der Empfindlichkeit eine Systemkalibrierung potenziell überflüssig.
Mythos Nr. 3: Halleffekt-Sensoren und Hall-Elemente sind das gleiche
Es trifft schlichtweg nicht zu, dass Hall-Elemente das gleiche sind wie Halleffekt-Sensoren. Ein Hall-Element, das zusätzliche Bias-Schaltungen und einen Differenzverstärker benötigt, ist die einfachste Lösung, um eine Spannung zu erzeugen. Anders als Halleffekt-Sensoren enthalten Hall-Elemente jedoch nicht alle ergänzenden Schaltungen im gleichen Gehäuse.
In Bild 2 ist die schaltungstechnische Umsetzung für beide Sensorarten dargestellt. Hall-Elemente werden dort eingesetzt, wo es nicht auf die Genauigkeit ankommt, aber die Kosten höchste Priorität haben. Ein in nächster Nähe befindlicher Differenzverstärker minimiert das Einkoppeln externer Störgrößen. Hall-Elemente weisen zudem eine prinzipbedingt nichtlineare Temperaturabhängigkeit auf, während Halleffekt-Sensoren über eingebaute Kompensationsschaltungen verfügen, die für stabile Messungen über einen weiten Temperaturbereich von –40 bis 125 °C sorgen.
Mythos Nr. 4: Halleffekt-Schalter sind kein sinnvoller Ersatz für Reed-Relais
Reed-Schalter sind in vielen Anwendungen nach wie vor vorherrschend (z. B. für Tür- oder Fenstersensoren). Der größte Nachteil von Reed-Relais in Alarmanlagen ist ihr Unvermögen, Manipulationsversuche zu erkennen. Bei einem linearen 3D-Halleffekt-Sensor können alle nicht für aktive Messungen genutzten Kanäle zum Detektieren solcher Ereignisse verwendet werden.
Ein weiteres Beispiel ist eine Kühlschranktür, bei der die exakte Position detektiert werden muss, an der die Innenbeleuchtung ein- bzw. ausgeschaltet wird. Halleffekt-Schalter erfassen aufgrund ihrer engen Hysterese die Öffnungs- und Schließdistanz zuverlässig.
Stand: 08.12.2025
Es ist für uns eine Selbstverständlichkeit, dass wir verantwortungsvoll mit Ihren personenbezogenen Daten umgehen. Sofern wir personenbezogene Daten von Ihnen erheben, verarbeiten wir diese unter Beachtung der geltenden Datenschutzvorschriften. Detaillierte Informationen finden Sie in unserer Datenschutzerklärung.
Einwilligung in die Verwendung von Daten zu Werbezwecken
Ich bin damit einverstanden, dass die Vogel Communications Group GmbH & Co. KG, Max-Planckstr. 7-9, 97082 Würzburg einschließlich aller mit ihr im Sinne der §§ 15 ff. AktG verbundenen Unternehmen (im weiteren: Vogel Communications Group) meine E-Mail-Adresse für die Zusendung von redaktionellen Newslettern nutzt. Auflistungen der jeweils zugehörigen Unternehmen können hier abgerufen werden.
Der Newsletterinhalt erstreckt sich dabei auf Produkte und Dienstleistungen aller zuvor genannten Unternehmen, darunter beispielsweise Fachzeitschriften und Fachbücher, Veranstaltungen und Messen sowie veranstaltungsbezogene Produkte und Dienstleistungen, Print- und Digital-Mediaangebote und Services wie weitere (redaktionelle) Newsletter, Gewinnspiele, Lead-Kampagnen, Marktforschung im Online- und Offline-Bereich, fachspezifische Webportale und E-Learning-Angebote. Wenn auch meine persönliche Telefonnummer erhoben wurde, darf diese für die Unterbreitung von Angeboten der vorgenannten Produkte und Dienstleistungen der vorgenannten Unternehmen und Marktforschung genutzt werden.
Meine Einwilligung umfasst zudem die Verarbeitung meiner E-Mail-Adresse und Telefonnummer für den Datenabgleich zu Marketingzwecken mit ausgewählten Werbepartnern wie z.B. LinkedIN, Google und Meta. Hierfür darf die Vogel Communications Group die genannten Daten gehasht an Werbepartner übermitteln, die diese Daten dann nutzen, um feststellen zu können, ob ich ebenfalls Mitglied auf den besagten Werbepartnerportalen bin. Die Vogel Communications Group nutzt diese Funktion zu Zwecken des Retargeting (Upselling, Crossselling und Kundenbindung), der Generierung von sog. Lookalike Audiences zur Neukundengewinnung und als Ausschlussgrundlage für laufende Werbekampagnen. Weitere Informationen kann ich dem Abschnitt „Datenabgleich zu Marketingzwecken“ in der Datenschutzerklärung entnehmen.
Falls ich im Internet auf Portalen der Vogel Communications Group einschließlich deren mit ihr im Sinne der §§ 15 ff. AktG verbundenen Unternehmen geschützte Inhalte abrufe, muss ich mich mit weiteren Daten für den Zugang zu diesen Inhalten registrieren. Im Gegenzug für diesen gebührenlosen Zugang zu redaktionellen Inhalten dürfen meine Daten im Sinne dieser Einwilligung für die hier genannten Zwecke verwendet werden. Dies gilt nicht für den Datenabgleich zu Marketingzwecken.
Recht auf Widerruf
Mir ist bewusst, dass ich diese Einwilligung jederzeit für die Zukunft widerrufen kann. Durch meinen Widerruf wird die Rechtmäßigkeit der aufgrund meiner Einwilligung bis zum Widerruf erfolgten Verarbeitung nicht berührt. Um meinen Widerruf zu erklären, kann ich als eine Möglichkeit das unter https://contact.vogel.de abrufbare Kontaktformular nutzen. Sofern ich einzelne von mir abonnierte Newsletter nicht mehr erhalten möchte, kann ich darüber hinaus auch den am Ende eines Newsletters eingebundenen Abmeldelink anklicken. Weitere Informationen zu meinem Widerrufsrecht und dessen Ausübung sowie zu den Folgen meines Widerrufs finde ich in der Datenschutzerklärung, Abschnitt Redaktionelle Newsletter.
Ein weiterer großer Nachteil von Reed-Schaltern ist ihre fehlende Eignung für die gängigen Leiterplattenbestückungs-Verfahren. Sie müssen stattdessen per Hand eingelötet werden, was den Montageprozess komplizierter und teurer macht. Einen Vergleich der beiden Technologien zeigt Tabelle 1 (nur online).
Mythos Nr. 5: Mit Halleffekt-Sensoren sind keine stromsparenden Lösungen möglich
Einige Halleffekt-Sensoren haben eine Stromaufnahme im einstelligen Milliampere-Bereich, weshalb sie für batteriebetriebene Anwendungen nicht in Frage kommen. Andere Halleffekt-Schalter unterstützen jedoch geringe Abtastraten von 5 Hz oder weniger und nehmen damit im Durchschnitt weniger als 1 µA auf. Diese Bauelemente wechseln also zwischen einem aktiven Messzustand mit hoher und einem Sleep-Modus mit extrem niedriger Leistungsaufnahme, um unter dem Strich auf einen geringen Stromverbrauch zu kommen. Da die aktiven Phasen (tactive) wesentlich kürzer sind als die Schlaf-Intervalle (ts), ist der Stromverbrauch insgesamt sehr niedrig (Bild 3).
Mythos Nr. 6: Halleffekt-Sensoren benötigen eine dreiadrige Verbindung außerhalb der Leiterplatte
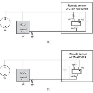
Die weitaus meisten auf dem Markt angebotenen Halleffekt-Sensoren besitzen in der Tat drei Anschlüsse, nämlich VCC (Versorgungsspannung), GND (Masse) und den Ausgang. Deshalb herrscht die Meinung vor, dass eine dreiadrige Verbindung zum Sensor benötigt wird. Dies trifft jedoch nicht zu, denn ein Halleffekt-Schalter mit drei Pins und Open-Drain-Spannungsausgang lässt sich mit nur zwei Leitungen anschließen.
Wird ein Magnetfeld erfasst, fließt ein Strom über den GND-Pin. Wird dagegen kein Feld erkannt, fließt kein Strom über den GND-Pin. Um den logischen Zustand festzustellen sind ein Widerstand und ein A/D-Wandler notwendig (letzterer kann auch in einen Mikrocontroller integriert sein). Problematisch an dieser Konfiguration ist die Tatsache, dass unter dem Einfluss von Störgrößen ungültige Spannungen erzeugt werden können.
Um eine zuverlässige Datenausgabe zu gewährleisten, wird stattdessen ein Baustein mit Stromausgang verwendet, um die Signalverzerrung zu verringern oder ganz zu unterbinden. Der TMAG5124 stellt beispielsweise eine Zwei-Pin-Lösung dar, die nur eine Verbindung für die Stromversorgung und eine für die Masse benötigt. Bild 4 veranschaulicht die korrekte Beschaltung des Bausteins, wobei über den GND-Pin entweder ein hoher oder ein niedriger Strom (beide im Milliampere-Bereich) übertragen wird.
Mythos Nr. 7: Mit Halleffekt-Sensoren ist eine flexible Platzierung des Magneten unmöglich
Die Position des Magneten relativ zum Sensor hängt von vielen Faktoren ab, von denen einige systembedingt sind, während andere durch den Sensor selbst vorgegeben werden. Zu den externen Faktoren, die Einfluss auf die Position des Magneten haben, gehören Größe und Material des Magneten sowie der Betriebstemperaturbereich. Je größer der Magnet, umso stärker ist das erzeugte Magnetfeld. Unter den gängigen Magnettypen produzieren Neodym-Eisen-Bor-Magnete das stärkste Magnetfeld, weshalb sie in der Regel kleinere Abmessungen aufweisen.
Bei der Auswahl des Magneten muss auch die Umgebungstemperatur berücksichtigt werden, da das erzeugte Magnetfeld in der Regel mit zunehmender Temperatur schwächer wird.
Die wichtigsten Faktoren, die mit dem Sensor selbst zusammenhängen, sind seine Empfindlichkeit, seine Richtungsempfindlichkeit (in der Sensorebene oder versetzt zur Sensorebene), mögliche Gehäusebauformen, die Anzahl der eingebauten Sensoren und die Konfigurierbarkeit. Ein Halleffekt-Sensor mit größerer Empfindlichkeit kann Magneten in größerer Entfernung detektieren.
Die meisten Halleffekt-Schalter und -Latches detektieren Magnetfelder, die senkrecht zur Oberfläche des Gehäuses ausgerichtet sind, während einige Bauelemente auch horizontale Magnetfelder (in der Sensorebene) erkennen. Ein gutes Beispiel hierfür ist der TMAG5123, der mehr mechanische Flexibilität für Konstruktionen bietet, in denen ein vertikaler Versatz nicht möglich ist. Ein weiteres Beispiel sind zweidimensionale, zweikanalige Latch-Bausteine, die mehrere Achsen überwachen können. Diese Bauelemente lassen sich in beliebiger Relation zum Magneten anordnen.
Mythos Nr. 8: Halleffekt-Sensoren eignen sich nicht zur Winkelmessung
Halleffekt-Sensoren kommen in vielen Wegmess-Anwendungen zum Einsatz, werden aber auch für absolute Winkelmessungen benutzt. Indem man zwei einachsige lineare Halleffekt-Sensoren strategisch um einen rotierenden Dipol-Magneten positioniert, erfassen beide Sensoren phasenversetzte Magnetfeld-Vektoren. Aus diesen Informationen lässt sich mithilfe der Arkustangens-Funktion die genaue Winkelposition des rotierenden Magneten errechnen. In Bild 5 sind zwei Implementierungen mit Sensoren in zwei verschiedenen Gehäusen dargestellt. Eine weitere, elegantere Möglichkeit der Winkelmessung basiert auf einem einzigen, linearen 3D-Halleffekt-Sensor (Bild 5b zeigt die verschiedenen Konfigurationen).
Mythos Nr. 9: Der Erfassungsbereich von Halleffekt-Sensoren ist sehr begrenzt
Gelegentlich herrscht die Einschätzung vor, dass der Erfassungsbereich von Halleffekt-Sensoren kaum für den praktischen Einsatz ausreicht, weil Magnetfelder naturgemäß mit wachsender Entfernung exponentiell schwächer werden. Hochempfindliche Halleffekt-Sensoren aber können Magnetfelder durchaus auch noch in einiger Entfernung detektieren.
Ein gutes Beispiel ist der DRV5032 mit einem kleinen, kostengünstigen Ferritmagneten (12 x 12 x 6 mm). Der am wenigsten empfindliche DRV5032ZE kann diesen Magneten aus einer Entfernung von 4,0 bis 7,5 mm detektieren, während die Version DRV5032FA auf 18,7 bis 44,6 mm kommt. In Verbindung mit einem gleich großen NdFeB-52-Magneten erhöht sich diese Distanz auf knapp 75 mm.
Mythos Nr. 10: Nur TMR-Sensoren ermöglichen Messungen in der Sensorebene
Entwickler richten ihren Blick meist auf TMR-Sensoren (engl. tunnel magnetoresistance, Tunnel-Magnetwiderstand), die sich durch eine hohe magnetische Empfindlichkeit, eine hohe Linearität und einen geringen Stromverbrauch auszeichnen. Überdies detektieren TMR-Sensoren Magnetfelder in horizontaler Richtung (in der Sensorebene).
Die meisten Halleffekt-Sensoren auf dem Markt reagieren stattdessen auf senkrechte Felder, einige Produkte wie der TMAG5123 eignen sich auch zum Erfassen von Feldern entlang der Sensorebene.
Ein Vorteil bei der Verwendung von Hall-Effekt-Sensoren sind die geringeren Gesamtkosten des Systems. Bild 6 zeigt die Richtungsabhängigkeit der Empfindlichkeit eines Sensors in der Ebene.
Mythos Nr. 11: Systeme mit Halleffekt-Sensoren sind leicht manipulierbar
Es trifft in der Tat zu, dass Systeme mit Reed-Relais und einfachen Halleffekt-Schaltern leicht manipuliert werden können. Starke externe Magnetfelder können dem System vorgaukeln, dass alles ordnungsgemäß funktioniert.
Eine gute Möglichkeit, dieses Problem zu beheben, sind lineare 3D-Halleffekt-Sensoren. Dabei überwacht eine Achse die Präsenz des vorgesehenen Magneten, während mit den beiden anderen Kanälen externe Magnetfelder detektiert werden. Durch den Einsatz eines linearen 3D-Sensors, bei dem die magnetische Ansprechschwelle für jeden Kanal einzelnen eingestellt werden kann, erhält man mehr Flexibilität bei der Vorgabe der richtigen Schwelle , ab der Manipulationsversuche erkannt werden. In dem Beispiel aus Bild 7 erhält der Mikrocontroller bei jedem Überschreiten der Ansprechschwelle ein Interrupt-Signal.
* Manny Soltero arbeitet im Produkt Marketing Positionsmessgeräte bei Texas Instruments in Dallas / USA.