Leistungsüberwachung 30-A-Energieverbrauchsmessung mit wenig Verlusten
Die Energieverbrauchsmessung von höheren Strömen birgt einige Herausforderungen wie hohe Verlustleistung sowie großen Bauraum und hohe Kosten. Eine elegante Alternative zeigt dieser Beitrag.
Anbieter zum Thema

Wenn Sie jemanden erzählen, dass Sie ein Solarzellensystem auf dem Dach Ihres Hauses installiert haben, werden Sie wahrscheinlich viele Fragen bekommen, wie „Wie viele Solarzellen haben Sie?“ oder „Wie groß ist Ihr System?“ Viele versuchen die Leistungsangabe Ihres Systems in einer manchmal etwas umständlichen Weise zu messen. Dann können sie fragen, wie effizient Ihre Solarzellen sind, wenn Sie immer noch mit dem Stromnetz verbunden sind, oder wie viel Sie das gesamte System kostet – alles sehr berechtigte Fragen.
Wenn Sie aber zuerst das „große Bild“ erklären möchten (und damit die Fragen minimieren), versuchen Sie die Unterhaltung mit einer Erklärung zu beginnen, wie viel Energie Sie verbrauchen und erzeugen, da – anders als die Leistung – die Energie letztendlich die eigentliche Maßeinheit für die Leistung eines Systems hinsichtlich des elektrischen Verbrauchs und der Erzeugung ist.
Das Überwachen der Energie hat in vielen Applikationen ähnliche Vorteile, nicht nur bei Solarzellen. Portable und Einschubsysteme sowie Inline-Energieverbrauchsmessgeräte sind in großer Zahl verfügbar und können z.B. von Anlagenmanagern benutzt werden, um die Energie, die unter vielem anderen von einzelnem Equipment oder ganzen Abteilungen verbraucht wird, zu erfassen und zuzuteilen. Dies kann auch einen Lastausgleich einschließen, bei dem der Verlauf des erwarteten Energieverbrauchs mit dem momentanen Verbrauch verglichen wird und, basierend auf Abweichungen vom modellierten Energiebedarf, Problembereiche angezeigt werden.
Bei der Auslegung von Verbrauchern können diese Personen bestimmen, wie viele Geräte einschließlich Beleuchtung, Computer, Batterien etc. jederzeit an ein System angeschlossen werden können. Elektrische Fahrräder und andere elektrische Fahrzeuge können ihren Energieverbrauch pro Kilometer mitteilen und damit die Energie quantifizieren, die von einer Batterie bezogen oder wieder in sie zurück gespeist wird.
Obwohl die Anwendungen der Energieverbrauchsüberwachung zahlreich sind, gibt es nur wenige Energieüberwachungs-ICs auf dem Markt. Viele Systementwickler setzen einen Leistungsüberwachungs-ICs wie den 100-V-Leistungsüberwachungsbaustein LTC2945 ein und benutzen einen Mikroprozessor, um den Verlauf sowohl der Leistung als auch der Zeit nachzuverfolgen und damit die Energie zu berechnen. Obwohl dazu keine komplexe Codierung nötig ist, ist der Hauptnachteil dieser Lösung, dass die Computerressourcen gebunden sind.
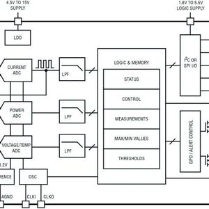
Der 100-V-Energieüberwachungsbaustein LTC2946 von Linear Technology ist eine elegantere Lösung, die eine direkte Energiemessung ermöglicht, bei der Anwender die eigene Messfühler einsetzen können. Die Herausforderung wird jedoch größer, wenn man hohe Ströme messen muss. Dazu verwendet man den Energieüberwachungsbaustein LTC2947 mit integriertem 30-A-Strommesswiderstand, der die Energieverbrauchsüberwachung selbst für anspruchsvolle moderne Anwendungen einfach realisierbar macht.
(ID:43792578)