Analogtipp Einstellbares Rauschnormal von 0,1 bis 200 MHz
Mit einer beleuchteten Photodiode als Quelle weißen Rauschens lässt sich für den Frequenzbereich von 0,1 bis 200 MHz ein Rauschnormal herstellen, das ohne Kalibrierung auskommt.
Anbieter zum Thema

Das Eigenrauschen und die Grenzempfindlichkeit elektronischer Verstärker werden oft unter Zuhilfenahme eines Rauschgenerators ermittelt. Im Hz-und kHz-Bereich kann man definiertes weißes Rauschen bequem aus ohmschen Widerständen oder aus Schieberegistern (Pseudo Random Generator) gewinnen.
Oberhalb von etwa 100 MHz dominieren spezielle Halbleiter-Rauschdioden, die aufgrund von Fertigungstoleranzen jedoch zuvor selbst vermessen und kalibriert werden müssen.
Für den mittleren Frequenzbereich lässt sich alternativ auch das Schrotrauschen einer beleuchteten Photodiode nutzen. Ihr Sperrstrom Iph wird von einem gaußverteilten weißen Rauschen gemäß Gleichung 1 begleitet.
Dessen Intensität ist unabhängig von spektralen Eigenschaften des Lichtes oder der Diode und wird ausschließlich durch den leicht kontrollierbaren Strom Iph und die Elementarladung e bestimmt. Prinzipiell lässt sich damit ein Rauschnormal herstellen, das keiner Kalibrierung bedarf.
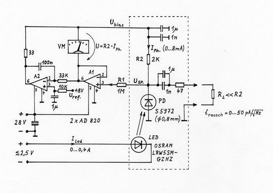
Bild 1 zeigt die Schaltung des aufgebauten Mustergeräts. Die Wahl der für die Photodiode (PD) eingesetzten HAMAMATSU S5972 ist ein Kompromiss zwischen geringer Kapazität und hoher Grenzfrequenz einerseits und nicht allzu kleiner Chipfläche andererseits. Zu deren Beleuchtung dient eine rote LED aus der OSRAM Reihe Golden Dragon, deren flache Lichtaustrittsfläche direkt vor PD platziert ist.
Damit der Frequenzgang der erzeugten Rauschdichte nicht von der Intensität abhängt, muss die an der Photodiode abfallende Sperrspannung konstant gehalten werden.

Hierzu wird Usp. rückwirkungsarm über R1 und den Puffer A1 abgetastet. Der Regler mit A2 stellt die Biasspannung Ubias stets automatisch so nach, dass Usp. = Uref. = +8 V wird. Die Festlegung des gewünschten Rauschpegels erfolgt durch Variation des Ripple- und Spike-freien Stromes Iled. Die Anzeige VM ist proportional zu Iph und somit ein direktes Maß für die erzeugte Rauschstromdichte.

Der in Bild 1 eingerahmte Teil ist als kleiner Tastkopf (Bild 2) aufgebaut, um den Rauschstrom auf kürzestem Wege in die zu testende Baugruppe oder Versuchsschaltung einzuspeisen. Wird eine 50-Ohm-Last angeschlossen, sind darin Rauschzahlen zwischen 0 und 32 kT-Einheiten stufenlos einstellbar, proportional zum Strom Iph.
Für die Messung der in den Bildern 3 bis 7 dargestellten Frequenzspektren fand ein Breitbandverstärker Verwendung, an dessen Eingangsbuchse der Tastkopf geklemmt wurde. Der Photostrom Iph war auf 6 mA eingestellt.
Die ersten beiden Spektren im Niederfrequenzbereich bis 2,5 MHz (Bilder 3 und 4) wurden mit einem Digitaloszilloskop OWON PDS6062 in der Betriebsart FFT gemessen. Eingestellt waren: vertikal 10 dB/div. sowie „Display Persist Infinite“. Steilflankige Tiefpassfilter vor dem Scope sorgten dafür, dass das Abtasttheorem eingehalten wurde.

Der deutliche Anstieg der Rauschdichte unterhalb etwa 10 kHz in Bild 3 wird vom Funkelrauschen der LED-Lichtintensität verursacht. Vorversuche zeigten, dass beim Einsatz einer kleinen Glühlampe ein weißes Rauschen bis unter 1 kHz erreicht werden könnte, jedoch wären die erzielbaren Beleuchtungsstärken auf der Photodiode wesentlich niedriger.

Oberhalb der Region des 1/f-Rauschens liegt eine konstante Spektraldichte vor (Bild 4).
Für die Messung der folgenden drei Spektren wurde ein HAMEG-Analyzer des Typs HM8028 benutzt, als Sichtgerät fungierte wieder das OWON-Oszilloskop, jetzt in der Betriebsart YT. Aus der eingestellten Vertikalempfindlichkeit von 200 mV/div. resultiert in Verbindung mit dem HM8028 die Skalierung 4 dB/div.

In Bild 5 liegt weißes Rauschen mit nahezu ebenem Frequenzgang vor.

Auch bis ca. 200 MHz liegen die Abweichungen unterhalb von ±1 dB (Bild 6). Die Peaks bei 28 MHz, 170 MHz und 185 MHz kommen durch externe Einstreuungen in den Messaufbau zustande.

Oberhalb von 200 MHz (Bild 7) geht die Rauschdichte zurück. Die Cutoff-Frequenz der eingesetzten Photodiode S5972 bei einer Vorspannung von 8 V wird von HAMAMATSU mit ca. 350 MHz angegeben. Der Abfall der Rauschdichte entspricht ungefähr diesem Wert.
Die Messungen zeigen, dass eine intensiv beleuchtete Photodiode als Quelle weißen Rauschens im Bereich 0,1 bis 200 MHz einsetzbar ist. Die Rauschintensität wird direkt von einem Naturgesetz bestimmt und ist damit gut reproduzierbar und stufenlos einstellbar.
* * Michael Franke ... ist Inhaber der Elektronikmanufaktur Mahlsdorf in Berlin.
(ID:34365200)
