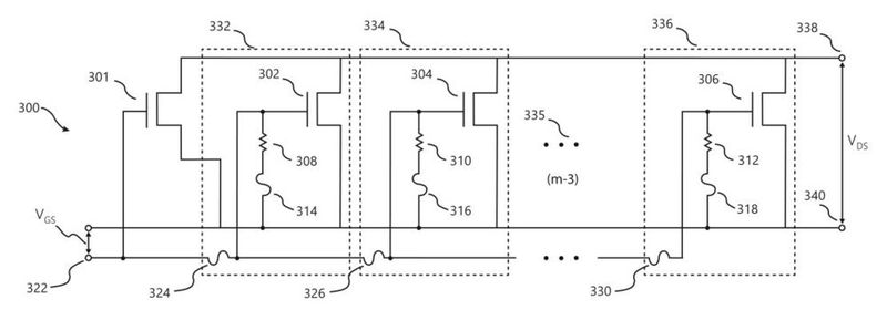
Ein neuer Technologie-Ansatz für den einfachen SJ-MOSFET

Zurück zum Artikel