Stromversorgung Drahtlose Energieübertragung nicht nur für elektrische Maschinen
Das hier vorgestellte Konzept zur kontaktlosen Enerieversorgung erlaubt weitreichende Anwendungen und erfüllt die Anforderungen der Praxis, wie die aktuellen Forschungsergebnisse zeigen.
Anbieter zum Thema

Kontaktlose Energieübertragung mittels induktiver Nahfeldkopplung wird seit vielen Jahren verwendet, um elektrische Energie ohne Kabel zu übertragen. Bekannt dafür ist die elektrische Zahnbürste oder die Magnetschwebebahn. Man fragt sich, warum es nur sehr wenige Anwendungen mit kontaktloser Energieübertragung gibt? Sie wäre oft sehr nützlich und die kontaktlose Datenübertragung (z.B. mit Wireless Lan oder Bluetooth) ist schon seit langem Standard. Was müsste technologisch getan werden, damit sich drahtlose Energieübertragung zum Vorteil der Anwender durchsetzt? Dieser Vortrag gibt Antworten und zeigt die Hintergründe.
Es gibt viele Publikationen zu diesem zukunftsträchtigen Thema. Mittlerweile haben sich schon einige Firmen zu mehr oder weniger geschlossenen „Standardorganisationen“ zusammengetan und konkurieren um die Vorherschaft, z.B. WPC, A4WP und PMA. Nach einem enthusiastischen Start erzwingen technische Grenzen und normenbedingte Vorgaben eine Verlangsamung der Evolution. Die Nachfrage nach höherer übertragbarer Leistung, skalierbarem Design und die Vorgaben der EMV-Regulierungsbehörden spielen dabei eine zentrale Rolle.
Mit der neuen Technik „universal Wireless Power“, kurz uniWP sind jetzt Anwendungen möglich, welche die aktuell existierenden technischen Schranken durchbrechen und die EMV-Normen auch bei größerer Leistung einhalten.
Eine drahtlose Stromversorgung ist überall dort von Vorteil, wo Verbindungskabel stören oder nicht einsetzbar sind. Oder man möchte Steckverbindungen eliminieren, weil sie korrodieren oder unzuverlässig sind. Es gibt auch viele Anwendungsfälle, in denen man aus Platzgründen gar nicht stecken kann. Nachfolgend sieben Beispiele für die kontaktlose Energieübertragung:
- In Werkzeugmaschinen gibt es oft Sensoren auf rotierenden Teilen, die unmöglich mit einem Kabel kontaktiert werden können, weil sie sich zu stark verdrillen oder einzelne Litzen abbrechen. Daten kann man per Funk übertragen, aber woher soll die Energie für den Sensor und den Sender kommen? Eine Batterie wäre schnell leer und Energy Harvesting reicht oft nicht aus. Da bietet sich die kontaktlose Energieübertragung an.
- Bei Getränkeabfüllanlagen oder Transportbändern können die Akkus der autarken Fahrschlitten während der Fahrt kontaktlos, schnell und sicher aufgeladen werden, ohne dass der Betriebsablauf gestört wird.
- Mobile Bedienterminals für Bau-, Forst- oder Landwirtschaftsmaschinen werden fast immer über Steckkontakte aufgeladen, die in der Arbeitsumgebung aber gerne verschmutzen oder korrodieren. Mit drahtloser Aufladung werden solche Ausfälle vermieden. Zusammen mit Bluetooth und Touchscreen erhält man ein absolut robustes, versiegeltes und sicheres System ganz ohne anfällige Steckkontakte. Schmutz, Luftfeuchtigkeit oder aggressive Flüssigkeiten können dem Bedienpanel dann nichts mehr anhaben und das Gerät ist per Wasserstrahl einfach zu reinigen. Die Einhaltung der Schutzart IP66 ist kein Problem.
- Tablett-PCs oder andere mobile Geräte in Operationsräumen kann man einfach mit einer Instrumentendesinfektion reinigen, wenn sie über drahtlose Energieübertragung verfügen.
- Mobile Roboter zum Staubsaugen, Rasenmähen oder für die Viehfütterung müssen immer wieder an ihre Ladestation fahren und sich an den leitfähigen Feder-Kontakten andocken. Das muss aufwendig konstruiert und gebaut werden und ist unzuverlässig, weil es anfällig gegen Schmutz und Korrosion ist. Mit kontaktloser Energieübertragung garantiert man dauerhaft eine sichere und zuverlässige Aufladung. Das gilt auch für die Elektromobilität.
- Eine Pumpe in einem langen Rohr könnte elektrisch versorgt werden, ohne dass eine Stromleitung durch das Rohr geführt werden muss.
- Interessant ist auch die kontaktlose Aufladung eines Akkus in einem Menschen, um implantierte Geräte mit elektrischer Energie zu versorgen. Hat man anstelle des Herzens eine mechanische Pumpe für den Blutkreislauf, so wäre der Akku schnell leer. Mit einer Sendespule in der Matratze und einer Empfangsspule im Thorax könnte man den implantierten Akku im Schlaf laden. Selbstverständlich ließen sich über die Matratze oder ein Kissen auch andere Implantate versorgen, wie Hörgeräte, Insulin- oder Morphiumpumpen, Messgeräte und Sensoren.
Herkömmliche Technik und deren Nachteile
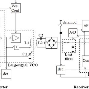
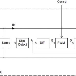
Bei drahtloser Energieübertragung erzielt man den höchsten Wirkungsgrad, wenn man gekoppelte Resonanzkreise in Sende-Empfang-Systemen einsetzt und sie bei ihrer gemeinsamen Resonanzfrequenz betreibt. Dabei muss die Betriebsfrequenz gleich der Resonanzfrequenz sein. Leider verstimmt sich diese Resonanzfrequenz durch Drift in den Komponenten (etwa durch Toleranzen, Alterung und Temperatur), durch Kopplungsschwankungen (Änderung des Abstandes, der Position oder Geometrie von Sender zu Empfänger) und in Abhängigkeit von der Last.
Die WPC-Qi-Lösung und andere detektieren die entstehende gemeinsame Resonanzfrequenz sobald Sender und Empfänger miteinander gekoppelt werden und betreiben die Strecke anschließend bei dieser Frequenz. Das System ist auf konstante (feste) Kopplung und mehr oder weniger auf konstante Last angewiesen. Eine sich ändernde Kopplung bleibt unberücksichtigt! Die strenge Standardisierung wie Schaltungsvorgaben, Komponentenauswahl und Toleranzeneinschränkung behindern die Weiterentwicklung.
Andere Lösungen verstellen die Generatorfrequenz in einer geschlossen Schlaufe so, dass der Generator auf der Resonanzfrequenz der gekoppelten Resonanzkreise arbeitet. Leider ist die Stabilität der geschlossenen Schlaufe von der Güte der Resonanzkreise abhängig. Außerdem kann der Generator die Resonanzfrequenz nicht bestimmen und diese liegt teilweise soweit auseinander, dass Gesetzesvorgaben (EMV) schwierig einzuhalten sind.
Der noch nicht offengelegte Standard A4WP arbeitet bei 6,678 MHz. In diesem Band kann nur begrenzt Leistung bei niedrigem Wirkungsgrad übertragen werden, da die gesetzlich vorgeschriebene maximale Bandbreite hohe Resonanzkreisgüten erfordert.
In einer anderen Lösung wird die Resonanzfrequenz aktiv gesteuert, aber ein linearer Betrieb ist nicht möglich, weil eine Amplitudenänderung (Spannung und Strom) im Resonanzkreis gleichzeitig die Resonanzfrequenz verstellt. Dies führt zu einem aufwendigen Regelkreis, der nur stabil ist, wenn man die Regelung langsam macht.
Alle bekannten Ansätze betreiben die gekoppelten Resonanzkreise immer unterkritisch, um überkritische Kopplung zu vermeiden. Kritische Kopplung, welche das physikalische Optimum bedeutet (Drahtverbindung) ist bei den herkömmlichen Lösungen praktisch nicht möglich.
(ID:42607073)