Anbieter zum Thema

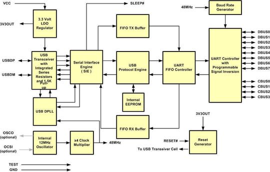
USB arbeitet mit einer wesentlich höheren Baudrate als RS-232 (6000:1). Der Baustein muss somit eine konforme USB-Schnittstelle bieten und imstande sein, die Daten entsprechend der RS-232-Verbindungserwartungen zu puffern, zu analysieren und zusammenzufügen. FTDIs proprietäres IP bildet die Grundlage dieser Technik, die eine USB-Protokoll-Engine, einen UART Controller, eine Serial Interface Engine und einen USB Transceiver umfasst. Bild 2 zeigt das Blockdiagramm eines Beispielbausteins, dem FT232R.
Während sich Software auf älteren Systemen nicht ändert, muss eine Anwendung auf einem modernen PC statt einer RS-232-Verbindung heute eine USB-Verbindung unterstützen - aber nur hinsichtlich des dafür verwendeten COM-Ports. Wird ein USB-zu-RS-232-Kabel an einen PC (USB-Port) angeschlossen, erstellt das PC-Betriebssystem einen virtuellen COM-Port, über den die Anwendung mit der USB-Schnittstelle kommuniziert. Dazu sind keine Softwareänderungen bei den auf dem PC laufenden Applikationen erforderlich.
Modifikationen der Peripherie-Soft-/Hardware nicht erforderlich
Der Applikation muss nur der COM-Port bekannt sein, an den das Kabel angeschlossen wird, um darüber kommunizieren zu können. Modifizierungen der Peripherie-Software oder -Hardware sind nicht erforderlich. Der im Kasten zu diesem Beitrag dargestellte Softwarecode zeigt, wie eine Applikation feststellen kann, mit welchem COM-Port sie verbunden ist. Auch Beispielcode zur Konfigurierung eines UARTs ist dargestellt.
Artikelfiles und Artikellinks
(ID:316680)